1
/
of
3
RTP 001 C X MS Pico Conical
RTP 001 C X MS Pico Conical
Weller
SKU:50101899
Produktoversigt
Denne loddespids fra WELLER, RTP 002 C X MS, er en RT Nano/Pico aktiv loddespids med konisk bøjning og spidsdiameter 0,2 mm. Produktet er specificeret som MIL‑SPEC (MS) og ESD‑safe og er designet til meget små mikrokomponenter. Modellen identificeres af producentens varenummer T0050101899.Teknisk beskrivelse
- Type: RT Nano/Pico aktiv loddespids, konisk bøjning
- Spidsdiameter: 0,2 mm
- Mil-Spec / ESD: Angivet som MIL‑SPEC (MS) og ESD‑safe
- Kompatibilitet: Virker med WXPP‑MS og WTPP‑MS
Typiske anvendelser
Beskrivelsen og producentens materiale angiver konkrete anvendelser for RTP 002 C X MS. Produktet er beregnet til lodning af de mindste mikrokomponenter med størrelser fra 0402 ned til 01005. Datasheetet nævner endvidere præcisionslodning i forbindelse med følgende anvendelsesområder, som er angivet af producenten:- Aerospace
- Military (kun MS-versioner)
- Electronics
- Sensors
- Medical devices
- Automotive
Dokumentation
Producentens produktside indeholder et tilgængeligt PDF-datablad og produktbilleder. For detaljeret teknisk information og verifikation af specifikationer henvises til producentens datasheet.Kilder
Se datablad fra producentenSpecifikationer
- Producent: WELLER
- Produktnavn / varenummer: RTP 002 C X MS / T0050101899
- Type: RT Pico/RT Nano aktiv loddespids, konisk bøjning
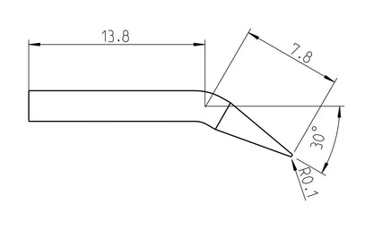
- Spidsdiameter: 0,2 mm
- Længde: 0.8 in
- Spidsvinkel: 30°
- Tip finder størrelse: 0.1 - 0.4 mm
- Effekt: 40 W (rated power)
- ESD Safe: Ja
- Mil‑Spec: Ja
- Kompatibel med: WXPP‑MS, WTPP‑MS
- Antal pr. pakke: 1
Indholdet er genereret ved hjælp af AI – vi tager forbehold for fejl.
Kontakt HIN for yderligere information om produktet.
In stock
View full details

You are not logged in and therefore do not see your prices.